DeForest Diver: Engineer - Inventor - Photographer

Special Thanks to Steven Smith, Jeff Diver, Jill Powell, Jack Tepper & Dan Myers


US1963891 A
Cushioning device
Inventor(s):  FOREST DIVER DE
Application No. 637525, Filed 19321012, Issued 19340619
US Class: 267178, 267286
Priority:  US 637525 19321012
Patents Citing This One (2):

Detailed Description

UNITED STATES PATENT OFFICE

1,963,891

 CUSHIONING DEVICE

 De Forest Diver, Middletown, N. Y.

 Application October 12, 1932, Serial No. 637,525

 2 Claims.

 This invention relates to seats, and its general object is to provide a cushioning device in the form of a shock absorber that is primarily designed for the lids of seat boxes and the like generally employed in the cab of locomotives and which act as seats for the engineer and fireman, so as to make the seat more comfortable in that the device has a tendency to absorb shocks and eliminates vibration and the like.

 Another object of the invention is to provide a cushioning device that can be associated with boxes of all kinds, to make the lids thereof comfortable for sitting purposes, is simple in construction, inexpensive to manufacture, easy to apply and extremely efficient in operation and service.

This invention also consists in certain other features of construction and in the combination and arrangement of the several parts, to be hereinafter fully described, illustrated in the accompanying drawing and specifically pointed out in the appended claims.

In describing my invention in detail, reference will be had to the accompanying drawing wherein like characters denote like or corresponding parts throughout the several views, and in which: ( Top Photo - Legendary O&W Engineer DeForest Diver at left - D. Diver Collection, Cornell University ) 

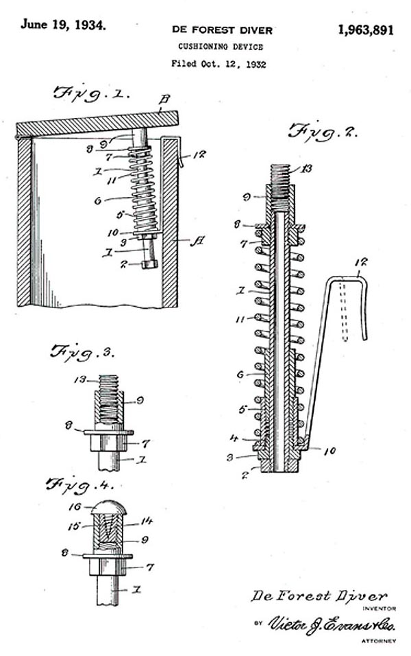
Figure 1 is a vertical sectional view taken through a box with my cushioning device applied thereto.

Figure 2 is a longitudinal sectional view taken through the major portion of my device with parts in elevation.

Figure 3 is a fragmentary detail view illustrating an attachment for the device, to adjust the height thereof.

Figure 4 is a similar view illustrating another attachment in the form of a cushioning button.


Referring to the drawing in detail, the reference numeral I indicates a tubular member which acts as a body for my device and is provided with threaded ends as best shown in Figure 2. Threaded to the lower end of the tubular body is a nut 2 that acts as an abutting means for a collar 3 that surrounds the tubular member and has rising there from a threaded portion 4 that has threadedly secured thereto and rising there from a coupling 5.

The coupling 5 is provided with internal threads and threadedly receives a guide sleeve 6 for the tubular body 1, as the latter is mounted for slidable movement therein as will be apparent upon inspection of Figure 2.

Threadedly secured to the upper end of the tubular body I is a nut 7 that has mounted thereon a washer 8 that is held in contacting engagement (Cl. 267- 1) with the nut 7 by an interiorly threaded sleeve 9 which is likewise threaded to the upper end of the tubular body as best shown in Figure 2 which likewise illustrates the fact that the interiorly threaded sleeve 9 extends a considerable distance above the upper end of the tubular body.

In order to attach the cushioning device to a box, I employ a bracket which includes a lower end bent at right angles to the major portion thereof, and the lower end which is indicated by the reference numeral 10 is threadedly secured to the threaded portion 4 of the collar 3 and is held fixedly associated therewith by the coupling 5.

The lower end 10 is in the form of a collar and acts as an abutting means for the lower convolution of a coil spring 11, while the upper convolution of said spring -is arranged in contacting engagement with the washer 8. The upper end of the bracket is bent to provide a hook 12 that is adapted to be arranged in clamping engagement over the top of a vertical wall of a box which for distinction is indicated by the letter A.

In Figures 2 and 3 1 have illustrated an attachment for adjusting the height of the device,.80 and the attachment is in fact a nipple 13 that is threadedly secured in the sleeve 9.

In Figure 4 1 have illustrated a slightly modified form of attachment which includes a nipple 14 that is provided with a threaded bore-for the $5 purpose of receiving the threaded shank 15 of a button 16 which is formed from resilient material such as rubber or the like.

It will be noted from Figure 1 that my device is adapted to be disposed within a box and is go held accordingly through the instrumentality of the bracket in a manner whereby the upper end of the device is engaged by the lid B which is supported in partially open position, or in other words the free portions of the lid are arranged in spaced relation with respect to the upper edge of the box, with the result the lid acts in the capacity as a comfortable seat, in that my device absorbs shocks and eliminates vibrations.

The hook 12 may be made in various sizes to 100 fit the walls of bores of different thickness, there being two sizes shown in Figure 2.

It will be obvious that the nipple 14 engages the lower surface of the lid when use is made of the attachment as shown in Figure 3, and the 105 button 16 engages the lid when use is made of the attachment as shown in Figure 4.

While my device can be utilized on boxes of all kinds, it is extremely beneficial for use on seat boxes and the like, that are employed in locomotive (110) cabs as these boxes are used as seats for the engineer and fireman.

It is thought from the foregoing description that the advantages and novel features of my invention will be readily apparent.

I desire it to be understood that I may make changes in the construction and in the combination and arrangement of the several parts, provided that such changes fall within the scope of the appended claims.


Claims (English)


 Patented June '19, 1934 al 19963989.1

What I claim is:- 1. A cushioning device comprising a tubular member, means slidably receiving said tubular member, means having connection with the first mentioned means to guide said tubular member, an attaching bracket for the device and having connection with the first mentioned means and rising there from, a washer secured to the upper end of said tubular member, a coil spring having its end convolutions engaging the washer and the lower end of the bracket and being adapted to urge the tubular member upwardly, means secured to the lower end of the tubular member and engageable with the guide means to limit the 4 1 0 &5 1719) 7- IN i,963,891 slidable movement of the tubular member, a sleeve threadedly secured to the upper end of said tubular member to act as an abutting means engageable with the lid of a box to bold the lid in an elevated position, and means adapted to be SO received in said sleeve to adjust the height of said device.

2. A cushioning device comprising a spring pressed tubular member, means slidably receiving the tubular member, means secured to, the S lower end of the tubular member to limit its slidable movement, a sleeve secured to the first mentioned means for guiding the tubular member, a bracket having its lower end secured to the first mentioned means, a hook formed with said ()o bracket for associating the device with a box, an abutting means secured to the upper end of the sleeve for holding the lid of the box in an elevated position, resilient means included in the abutting means and means for adjusting the abutting means and holding the same in adjusted positions to vary the height of the device.

 DE FOREST DIVER.

Patent Application



The crew of the 1920 Livingston Manor Express, trains 21 -22. Left to right :Conductor Blake Merrit,
Porter Josh Baldwin, Baggageman Frank Knapp, Trainmen Phil Gross & Mike Hempstead, Fireman
 Guy Bennett & Engineer Deforest “Pat” Diver.
Photo courtesy of the Middletown Historical Society